生成了序列号如下

一组数据对应一个序列号

这一组只对应一个序列号,这种在工作流里应该怎么实现呢?
不知道流程参数是否可以解决你的问题。流程参数的作用是,将父流程中的变量,作为参数,传入到子流程。
比如,在父流程 A 中,生成序列号,然后进行子流程去处理工序,这个情况下,就可以在进入子流程前,将序列号设定好
关于流程参数的使用方法,也可以参见官方文档,https://help.mingdao.com/flow13?_highlight=%E5%8F%82%E6%95%B0
我把这个问题想复杂了,其实在子流程里,同时按照工艺路线生成多条数据的时候把序列号增加上就可以了

不知道流程参数是否可以解决你的问题。流程参数的作用是,将父流程中的变量,作为参数,传入到子流程。
比如,在父流程 A 中,生成序列号,然后进行子流程去处理工序,这个情况下,就可以在进入子流程前,将序列号设定好

关于流程参数的使用方法,也可以参见官方文档,https://help.mingdao.com/flow13?_highlight=%E5%8F%82%E6%95%B0

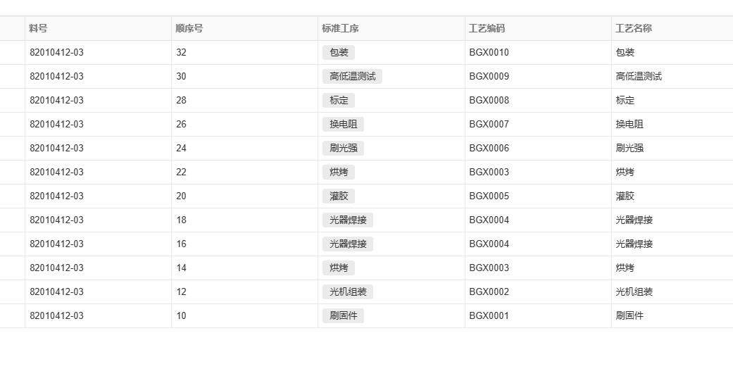
工艺路线是这种一个料号对应多个工序,且工序是有顺序号的
最后形成类似这种效果,工序按照工艺路线设定,每个料号对应 1-12 个工序。
