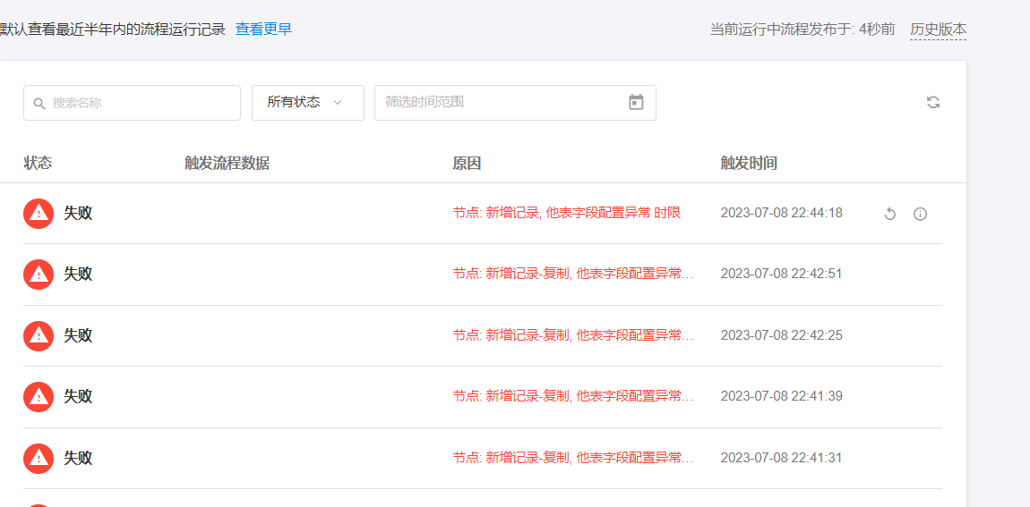
这个是什么bug啊,新增和更新全部显示他表字段配置异常,时限?? 野猪向前冲 2023-07-09 08:24:55 分享 收藏 复制链接 新浪微博 微信扫一扫 分享 3 / 708 之前好好的, 这个表根本没有他表字段。公有云要稳定性第一啊。。。影响很大啊