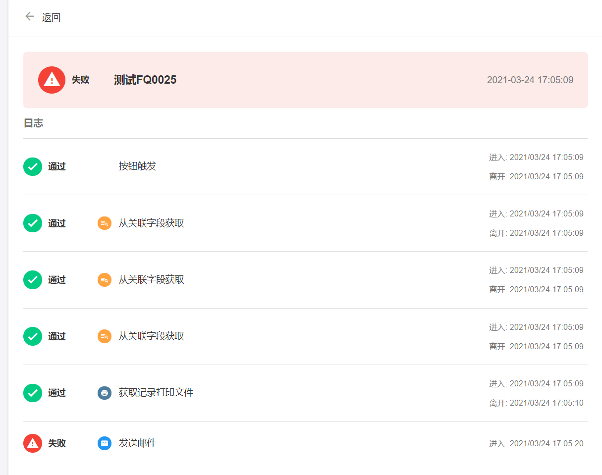
节点:发送邮件,程序异常。 但是过一会儿其实会发出去,但是始终报错。 CHAOHUANG 2021-05-11 14:30:48 分享 私有部署明道云 收藏 复制链接 新浪微博 微信扫一扫 分享 2 / 985